製品仕様 スムースウッド19 タチカワ|カーテンレールを激安価格で通信販売

タチカワスムースウッド19製品仕様

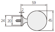
レール断面図

単位:mm

レール断面図

フィニアル寸法図

単位:mm

フィニアルA

フィニアルA

フィニアルB

フィニアルB

フィニアルC

フィニアルC

プレーンフィニアル

プレーンフィニアル

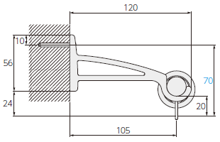
取付寸法図

シングル正面付け単位:mm

ロングシングルブラケットN

(ブラケット幅:19)

ロングシングルブラケットN

ロングシングルブラケット

(ブラケット幅:19)

ロングシングルブラケット

ダブル正面付け単位:mm

ダブルブラケットN

(ブラケット幅:19)

ダブルブラケットN

ダブルブラケット

(ブラケット幅:19)

ダブルブラケット

※木製レール穴開け治具の使用方法単位:mm

木製レール穴開け治具の使用方法

ブラケット取付けピッチ・カーテン適正重量

ブラケット取付けピッチ・カーテン適正重量

ブラケット取付けピッチ・カーテン適正重量

部品の材質

部品名材質
ポールアッシュ材
フィニアル アッシュ材・アルミニウム
リングランナースチール・ポリアセタール樹脂
ブラケットアルミ押出し形材

タチカワ「スムースウッド19」のトップページへ